Mô tả sản phẩm
Phân Tích Sâu Lông Đền Vênh Thép Đen DIN127 M6 – Giải Pháp Chống Lỏng Ren Tin Cậy Cho Máy Móc Công Nghiệp
Mục Lục
- 1. Định nghĩa Lông Đền Vênh Thép Đen DIN127 M6 và ứng dụng cơ bản?
- 2. Bảng thông số kỹ thuật chi tiết của Lông Đền Vênh Thép Đen M6
- 3. Phân tích kết cấu và vật liệu Thép Carbon của Vòng Đệm Vênh M6
- 4. Các lợi thế cạnh tranh của vật liệu Thép Carbon xử lý Đen?
- 5. Nguyên lý hoạt động của Lông Đền Vênh DIN 127 trong việc duy trì lực siết
- 6. Đặt lên bàn cân: Lông Đền Vênh Thép Đen và các loại vật liệu khác
- 7. Tổng quan ưu điểm và những giới hạn cần chú ý của Lông Đền Vênh Thép Đen M6
- 8. Vòng Đệm Vênh Thép Đen M6 phù hợp nhất cho những ứng dụng nào?
- 9. Khả năng chịu nhiệt và sự thay đổi đặc tính của Lông Đền Thép Đen M6
- 10. Hướng dẫn lắp đặt an toàn và hiệu quả cho Lông Đền Vênh M6
- 11. Bí quyết nhận dạng Lông Đền Vênh Thép Đen chất lượng cao và hàng nhái
- 12. Giá tham khảo & Địa chỉ cung cấp Lông Đền Vênh Thép Đen DIN127 M6 chất lượng
- 13. Giải đáp các câu hỏi thường gặp (FAQ) về Lông Đền Vênh Thép Đen DIN127 M6
- 14. Kênh tư vấn kỹ thuật chuyên nghiệp về các sản phẩm Phụ kiện Lắp xiết
- 15. Thông Tin Bổ Sung & Chia sẻ kinh nghiệm từ đội ngũ chuyên gia Mecsu
1. Định nghĩa Lông Đền Vênh Thép Đen DIN127 M6 và ứng dụng cơ bản?
Lông Đền Vênh Thép Đen DIN127 M6 là một chi tiết kẹp chặt cơ khí, được thiết kế theo tiêu chuẩn DIN của Đức để sử dụng với bulong và vít kích thước M6. Sản phẩm được chế tạo từ Thép Carbon (thép lò xo) qua quá trình dập và nhiệt luyện, sau đó được phủ một lớp oxit đen để tăng cường khả năng chống ăn mòn nhẹ. Chức năng chính của nó là chống lại sự tự tháo của mối ghép ren bằng cách tạo ra một lực đàn hồi liên tục, duy trì sự căng cứng và tăng ma sát giữa các bề mặt ren, đặc biệt hiệu quả trong các điều kiện có sự rung động.
Với độ cứng cao và chi phí sản xuất hợp lý, lông đền vênh M6 thép đen là một giải pháp kinh tế và đáng tin cậy cho hàng loạt ứng dụng lắp ráp máy móc, thiết bị công nghiệp, và các kết cấu thép hoạt động trong môi trường trong nhà, khô ráo.
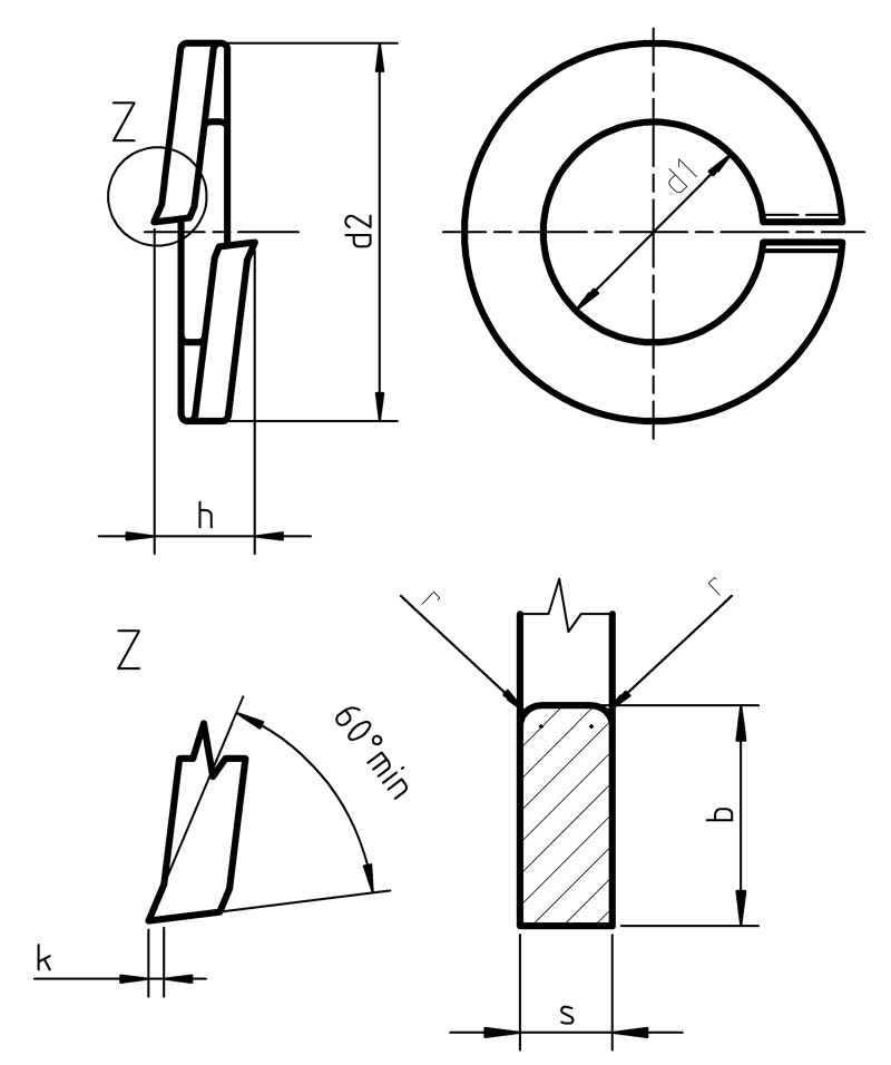
2. Bảng thông số kỹ thuật chi tiết của Lông Đền Vênh Thép Đen M6
d1: Đường kính trong
d2: Đường kính ngoài
s: Độ dày
| Thông số | Giá trị |
|---|---|
| Mã đặt hàng | 0061311 |
| Mã sản phẩm | W02M060AD1 |
| Dùng cho Bulong | M6 |
| Đường Kính Trong (d1) | 6.1 mm |
| Đường Kính Ngoài (d2) | 11.8 mm |
| Độ Dày (s) | 1.6 mm |
| Hình Dạng | Vênh |
| Hệ Kích Thước | Met |
| Vật Liệu | Thép Carbon |
| Xử Lý Bề Mặt | Nhiệt Luyện (Đen) |
| Tiêu Chuẩn | DIN 127 |
| Xuất Xứ | Trung Quốc |
3. Phân tích kết cấu và vật liệu Thép Carbon của Vòng Đệm Vênh M6
Hiệu quả làm việc của Lông Đền Vênh Thép Đen M6 là kết quả của sự kết hợp giữa thiết kế cơ học thông minh và vật liệu chuyên dụng:
- Hình Dạng Xoắn Ốc Đàn Hồi: Vòng đệm có một đường cắt ngang và được uốn vênh lên, tạo thành một hình xoắn ốc một vòng. Cấu trúc này cho phép nó nén lại và tích trữ năng lượng đàn hồi khi bị siết, giống như một lò xo cực ngắn và cứng.
- Vật Liệu Thép Carbon Nhiệt Luyện: Sản phẩm được làm từ thép carbon có hàm lượng carbon được kiểm soát, cho phép nó đạt được độ cứng và giới hạn đàn hồi rất cao sau khi trải qua quá trình tôi và ram. Đây là yếu tố quyết định đến khả năng tạo lực căng của vòng đệm.
- Lớp Phủ Oxit Đen Bảo Vệ: Bề mặt được xử lý hóa học để tạo ra một lớp magnetite (Fe3O4) mỏng, có màu đen đặc trưng. Lớp phủ này không làm tăng kích thước chi tiết, giúp chống gỉ sét tạm thời và cải thiện khả năng giữ dầu.
4. Các lợi thế cạnh tranh của vật liệu Thép Carbon xử lý Đen?
Việc lựa chọn vật liệu Thép Carbon Đen cho Lông Đền Vênh M6 mang lại nhiều lợi thế thực tiễn trong các ứng dụng công nghiệp:
- Hiệu Suất Cơ Học Tối Ưu: Quá trình nhiệt luyện mang lại cho thép carbon độ cứng vượt trội, giúp các cạnh sắc của lông đền bám chặt vào bề mặt kim loại, đồng thời tạo ra một lực đàn hồi mạnh mẽ để duy trì sức căng trong mối ghép.
- Giải Pháp Tiết Kiệm Chi Phí: So với thép không gỉ, thép carbon có giá thành nguyên liệu và chi phí gia công thấp hơn đáng kể. Điều này làm cho lông đền vênh thép đen trở thành lựa chọn lý tưởng cho các dự án sản xuất hàng loạt, nơi chi phí là một yếu tố quan trọng.
- Tương Thích Môi Trường Bôi Trơn: Bề mặt oxit đen có khả năng giữ lại một lớp dầu mỏng, giúp tăng cường khả năng chống ăn mòn trong môi trường máy móc công nghiệp, nơi dầu mỡ thường xuyên hiện diện.
5. Nguyên lý hoạt động của Lông Đền Vênh DIN 127 trong việc duy trì lực siết
Cơ chế khóa của Lông Đền Vênh Thép Đen M6 hoạt động dựa trên sự kết hợp của hai tác động vật lý chính:
- Tạo Lực Căng Dọc Trục: Khi bị siết phẳng, cấu trúc vênh của vòng đệm hoạt động như một lò xo nén, tạo ra một lực đẩy không đổi theo chiều dọc của bulong. Lực này bù lại sự chùng xuống tự nhiên của mối ghép do rung động hoặc giãn nở nhiệt, qua đó duy trì lực kẹp ban đầu.
- Tạo Ma Sát Khóa Cơ Học: Với độ cứng cao, các cạnh sắc ở hai đầu của vòng đệm sẽ “ghim” vào bề mặt của đai ốc và chi tiết máy. Sự ghim giữ này tạo ra một rào cản ma sát đáng kể, chống lại mọi xu hướng xoay ngược chiều, giữ cho mối ghép luôn được cố định.
6. Đặt lên bàn cân: Lông Đền Vênh Thép Đen và các loại vật liệu khác
Lựa chọn vật liệu lông đền vênh phải dựa trên phân tích kỹ lưỡng về môi trường làm việc và yêu cầu kỹ thuật:
So sánh vật liệu:
- Lông Đền Vênh Thép Đen (Sản phẩm này): Lựa chọn hàng đầu khi ưu tiên về giá thành và độ cứng cơ học. Chỉ phù hợp cho môi trường trong nhà, khô ráo, hoặc có dầu mỡ. Dễ bị gỉ sét nhanh chóng khi tiếp xúc với độ ẩm.
- Lông Đền Vênh Thép Mạ Kẽm: Cung cấp khả năng chống ăn mòn tốt hơn thép đen, phù hợp cho môi trường có độ ẩm thấp hoặc không gian có mái che nhưng không kín. Lớp kẽm hoạt động như một lớp bảo vệ hy sinh.
- Lông Đền Vênh Inox (304/316): Giải pháp cao cấp nhất, cung cấp khả năng chống ăn mòn tuyệt vời. Bắt buộc cho các ứng dụng ngoài trời, trong môi trường hóa chất, thực phẩm, hoặc những nơi yêu cầu vệ sinh cao.
7. Tổng quan ưu điểm và những giới hạn cần chú ý của Lông Đền Vênh Thép Đen M6
Để khai thác tối đa hiệu quả và đảm bảo an toàn, cần nắm vững các điểm mạnh và điểm yếu của Lông Đền Vênh Thép Đen M6:
Ưu điểm nổi bật:
- Giá Thành Cực Kỳ Hợp Lý: Là giải pháp khóa ren có chi phí thấp nhất, giúp tối ưu hóa ngân sách cho các dự án sản xuất quy mô lớn.
- Độ Cứng Cao, Hiệu Quả Khóa Tốt: Lực đàn hồi mạnh và khả năng bám của cạnh sắc đã được chứng minh là rất hiệu quả trong việc chống xoay.
– Lý Tưởng Cho Môi Trường Công Nghiệp Điển Hình: Hoạt động ổn định và bền bỉ trong các môi trường có dầu mỡ, không yêu cầu khả năng chống gỉ sét đặc biệt.
Giới hạn ứng dụng:
- Khả Năng Chống Ăn Mòn Hạn Chế: Đây là nhược điểm lớn nhất. Sản phẩm sẽ nhanh chóng bị oxy hóa và gỉ sét nếu tiếp xúc với nước, hơi ẩm hoặc môi trường ăn mòn.
- Giới Hạn Về Nhiệt Độ: Ở nhiệt độ quá cao (thường trên 250°C), thép lò xo sẽ mất đi độ cứng và lực đàn hồi do quá trình “ram” hóa, làm mất tác dụng khóa.
- Không Nên Tái Sử Dụng: Lực đàn hồi sẽ giảm dần sau mỗi lần siết và tháo. Luôn sử dụng vòng đệm mới cho các mối ghép quan trọng để đảm bảo an toàn tuyệt đối.
8. Vòng Đệm Vênh Thép Đen M6 phù hợp nhất cho những ứng dụng nào?
Với kích thước M6, một loại bulong cực kỳ thông dụng trong cơ khí, Vòng Đệm Vênh Thép Đen được ứng dụng trong vô số lĩnh vực:
- Lắp Ráp Khung Vỏ Máy Móc: Dùng để cố định các tấm panel, vỏ che, khung máy trong các thiết bị công nghiệp, máy công cụ, đảm bảo kết cấu vững chắc và không bị lỏng lẻo do rung động vận hành.
- Ngành Công Nghiệp Ô Tô: Sử dụng để lắp ráp các bộ phận phụ trợ trong khoang động cơ, hệ thống khung gầm, và các chi tiết nội thất không yêu cầu khả năng chống ăn mòn cao.
- Xây Dựng Kết Cấu Thép Nhẹ: Cố định các thanh thép, pát nối, và các chi tiết liên kết trong việc xây dựng nhà xưởng, nhà kho, hoặc các kết cấu trong nhà.
- Lắp Đặt Tủ Điện Công Nghiệp: Giữ chặt các thanh cái, aptomat, và các thiết bị đóng cắt lên bảng điện, đảm bảo các kết nối điện luôn chắc chắn và an toàn.
9. Khả năng chịu nhiệt và sự thay đổi đặc tính của Lông Đền Thép Đen M6
Lông Đền Vênh M6 làm từ thép carbon nhiệt luyện có giới hạn nhiệt độ hoạt động cần được xem xét cẩn thận trong quá trình thiết kế.
Vật liệu thép lò xo duy trì tốt các đặc tính đàn hồi ở nhiệt độ phòng và nhiệt độ hoạt động thông thường của máy móc. Tuy nhiên, khi nhiệt độ vượt quá ngưỡng “ram” của vật liệu (thường là khoảng 250-300°C), thép sẽ bị mềm đi vĩnh viễn, dẫn đến mất độ cứng và không còn khả năng tạo ra lực đàn hồi. Vì vậy, tuyệt đối không sử dụng chúng trong các ứng dụng có nhiệt độ cao liên tục như gần động cơ, lò hơi, hoặc hệ thống xả.
10. Hướng dẫn lắp đặt an toàn và hiệu quả cho Lông Đền Vênh M6
Việc lắp đặt đúng kỹ thuật là yếu tố then chốt để Lông Đền Vênh M6 phát huy hết khả năng của mình:
Nguyên tắc Vị trí Lắp đặt:
- Quy Tắc Vàng: Luôn đặt vòng đệm vênh M6 nằm giữa bề mặt chi tiết và bộ phận tạo ra lực siết (ví dụ: nằm dưới đầu của vít hoặc dưới đai ốc).
- Đảm Bảo Bề Mặt Sạch: Bề mặt lắp ghép phải sạch sẽ, không có dầu mỡ, bụi bẩn hay gỉ sét để đảm bảo lực siết được phân bố đều và các cạnh sắc bám tốt.
Lưu ý Kỹ thuật:
- Sử Dụng Dụng Cụ Đúng Kích Cỡ: Dùng cờ lê hoặc đầu tuýp đúng kích cỡ M6 để tránh làm hỏng đầu bulong hoặc đai ốc. Nếu có thể, hãy sử dụng cờ lê lực để siết đúng mô-men xoắn theo khuyến nghị của nhà thiết kế.
- Tránh Siết Quá Lực: Siết quá mạnh một con vít M6 không chỉ làm hỏng ren mà còn có thể làm gãy vòng đệm. Hãy siết đến khi cảm thấy chắc tay và vòng đệm đã được ép phẳng hoàn toàn là đủ.
11. Bí quyết nhận dạng Lông Đền Vênh Thép Đen chất lượng cao và hàng nhái
Để đảm bảo an toàn và chất lượng cho công trình của bạn, hãy áp dụng các phương pháp kiểm tra Lông Đền Vênh Thép Đen M6 sau:
- Kiểm Tra Từ Tính:
- Hàng Chuẩn: Là thép carbon, sản phẩm sẽ bị nam châm hút rất mạnh. Đây là cách phân biệt rõ ràng nhất với lông đền inox, vốn có từ tính yếu hoặc không có.
- Kiểm Tra Bề Ngoài và Độ Cứng:
- Bề Mặt Đồng Đều: Lớp phủ oxit đen phải có màu sắc đồng nhất, mịn màng, không có các đốm gỉ sét màu đỏ hoặc các vết loang lổ.
- Kiểm Tra Độ Đàn Hồi: Dùng kìm bóp nhẹ. Vòng đệm chất lượng cao phải có độ cứng và đàn hồi tốt, không dễ bị bóp bẹp. Nếu nó bị gãy khi bẻ nhẹ, có thể vật liệu đã bị tôi quá giòn, không đảm bảo chất lượng.
12. Giá tham khảo & Địa chỉ cung cấp Lông Đền Vênh Thép Đen DIN127 M6 chất lượng
a. Giá Lông Đền Vênh Thép Đen DIN127 M6 tại Mecsu: 65 đ / Cái (đã có VAT)
Xin lưu ý, mức giá trên là giá bán lẻ tham khảo. Đối với các đơn hàng số lượng lớn cho các dự án xây dựng, nhà máy sản xuất, Mecsu luôn có chính sách giá cạnh tranh và chiết khấu hấp dẫn. Vui lòng liên hệ trực tiếp với đội ngũ kinh doanh để nhận được báo giá tốt nhất.
b. Gợi ý địa chỉ mua hàng đáng tin cậy
- Chọn Nhà Cung Cấp Có Uy Tín và Năng Lực: Hãy chọn các nhà cung cấp vật tư công nghiệp lớn, có khả năng cung cấp hàng hóa ổn định với số lượng lớn và chất lượng đồng đều.
- Đặt Hàng Tại Mecsu: Mecsu là đơn vị cung cấp Lông Đền Vênh Thép Đen M6 đúng tiêu chuẩn, chất lượng cao. Chúng tôi cam kết mang đến cho khách hàng sản phẩm đáng tin cậy, giá cả cạnh tranh và dịch vụ hỗ trợ khách hàng chuyên nghiệp.
MUA THÊM NHIỀU LOẠI LÔNG ĐỀN VÀ VÒNG ĐỆM CHÍNH HÃNG KHÁC TẠI MECSU
13. Giải đáp các câu hỏi thường gặp (FAQ) về Lông Đền Vênh Thép Đen DIN127 M6
a. Lực siết khuyến nghị cho bulong M6 khi dùng với lông đền vênh là bao nhiêu?
Lực siết phụ thuộc vào cấp bền của bulong (ví dụ 4.6, 8.8, 10.9) và vật liệu của chi tiết được ghép. Tuy nhiên, một nguyên tắc chung là siết đến khi lông đền vênh được ép phẳng hoàn toàn. Để có thông số chính xác, bạn nên tham khảo sổ tay kỹ thuật hoặc tiêu chuẩn về mô-men xoắn cho bulong M6 tương ứng.
b. Lông đền vênh có làm hỏng bề mặt của chi tiết không?
Có, đây là một phần trong cơ chế hoạt động của nó. Các cạnh sắc của lông đền vênh sẽ “cắn” vào bề mặt để tạo ra khóa cơ học. Vì vậy, không nên sử dụng chúng trên các bề mặt đã được sơn hoàn thiện, các vật liệu mềm (như nhôm) hoặc những nơi yêu cầu tính thẩm mỹ cao mà không muốn có vết xước.
c. Tại sao không nên xếp chồng hai lông đền vênh lên nhau?
Việc xếp chồng hai lông đền vênh sẽ không làm tăng gấp đôi lực khóa, mà ngược lại có thể tạo ra một điểm trượt giữa hai lông đền, làm giảm hiệu quả chống xoay và khiến mối ghép kém ổn định hơn. Luôn chỉ sử dụng một lông đền vênh cho mỗi mối ghép.
d. Lông đền vênh Thép Đen có thể dùng trong môi trường rung động mạnh không?
Đối với môi trường rung động nhẹ đến trung bình, lông đền vênh là một giải pháp hiệu quả và kinh tế. Tuy nhiên, trong các ứng dụng chịu rung động cực mạnh hoặc tải trọng động lớn, các giải pháp khóa ren chuyên dụng hơn như đai ốc có chèn nhựa, keo khóa ren, hoặc các loại lông đền khóa khác (như Nord-Lock) có thể sẽ là lựa chọn an toàn hơn.
e. “DIN 127” có ý nghĩa gì?
“DIN” là viết tắt của “Deutsches Institut für Normung”, tức Viện Tiêu chuẩn Đức. “127” là mã số của tiêu chuẩn này, quy định cụ thể về hình dạng, kích thước, và dung sai cho loại lông đền vênh lò xo này. Đây là một trong những tiêu chuẩn phổ biến và được công nhận rộng rãi nhất trên thế giới cho sản phẩm này.
14. Kênh tư vấn kỹ thuật chuyên nghiệp về các sản phẩm Phụ kiện Lắp xiết
Nếu quý khách hàng cần tư vấn sâu hơn về việc lựa chọn vật liệu, tiêu chuẩn phù hợp, hoặc có bất kỳ câu hỏi kỹ thuật nào liên quan đến Lông Đền Vênh Thép Đen M6, xin vui lòng liên hệ ngay với đội ngũ kỹ sư giàu kinh nghiệm của Mecsu. Chúng tôi luôn sẵn lòng chia sẻ và cung cấp những giải pháp lắp xiết tối ưu, đáng tin cậy và hiệu quả nhất cho mọi ứng dụng của bạn.
Địa chỉ: B28/I – B29/I Đường số 2B, KCN Vĩnh Lộc, P. Bình Hưng Hòa B, Q. Bình Tân, TP.HCM
Hotline: 1800 8137
Email: [email protected]
Website: mecsu.vn
15. Thông Tin Bổ Sung & Chia sẻ kinh nghiệm từ đội ngũ chuyên gia Mecsu
a. Câu Chuyện Thành Công & Bài học Ứng Dụng
Lông Đền Vênh Thép Đen M6 là một chi tiết được sử dụng với số lượng cực lớn trong ngành lắp ráp tủ điện công nghiệp. Kinh nghiệm từ các đối tác sản xuất cho thấy, việc sử dụng vòng đệm này khi cố định các thanh cái đồng và các thiết bị đóng cắt vào khung tủ giúp chống lại sự nới lỏng do rung động từ trường và giãn nở nhiệt, đảm bảo các kết nối điện luôn an toàn và ổn định. Chi phí thấp của nó là một yếu tố quyết định trong ngành sản xuất hàng loạt này.
b. Lời khuyên từ Chuyên gia Kỹ thuật
“Đối với các mối ghép M6 trong môi trường khô ráo, Lông Đền Vênh Thép Đen là một giải pháp cực kỳ hiệu quả về mặt chi phí. Nó cung cấp lực khóa đáng tin cậy với giá thành tối thiểu. Tuy nhiên, điều quan trọng là phải nhận thức rõ giới hạn của nó: tuyệt đối không sử dụng cho các ứng dụng ngoài trời hoặc ẩm ướt.” — Kỹ sư cơ khí, Chuyên gia kỹ thuật Mecsu (TP. Hồ Chí Minh) – Với hơn một thập kỷ kinh nghiệm trong lĩnh vực thiết bị công nghiệp.
c. Tài Liệu Tham Khảo và Nguồn Nghiên Cứu
Nội dung chi tiết trong bài viết này đã được biên soạn và kiểm chứng dựa trên các tiêu chuẩn kỹ thuật công nghiệp và dữ liệu thực tiễn:
- DIN Standard Catalog (Nguồn thông tin về tiêu chuẩn DIN 127).
- Sổ tay kỹ thuật về vật liệu thép carbon và các quy trình xử lý bề mặt như nhuộm đen (black oxide).
- Kinh nghiệm thực tế và phản hồi từ các dự án cung cấp vật tư cho ngành lắp ráp điện tử và sản xuất hàng tiêu dùng của Mecsu.
Biên soạn bởi: Đội ngũ Kỹ sư Mecsu
Với hơn 10 năm kinh nghiệm chuyên sâu trong ngành, đội ngũ kỹ sư của Mecsu cam kết mang đến những thông tin kỹ thuật hữu ích và chính xác nhất.
(Tìm hiểu thêm về chúng tôi tại Website Mecsu)
Lưu ý: Hình ảnh sản phẩm trong bài viết có thể có sự khác biệt so với sản phẩm thực tế tùy theo nhà sản xuất và lô hàng. Quý khách vui lòng tham khảo bảng thông số kỹ thuật chi tiết hoặc liên hệ Mecsu để có thông tin chính xác nhất về sản phẩm.









Đánh giá
Chưa có đánh giá nào.