Mô tả sản phẩm
Thông tin chi tiết Vít Trí Lục Giác Chìm Đuôi Bằng M5x5 Cấp Bền 10.9: Giải pháp kẹp chặt tinh gọn cho không gian siêu hẹp
Mục Lục Bài Viết
- 1. Khái quát về dòng Vít Trí Đuôi Bằng Thép Đen 10.9 M5x5
- 2. Bảng dữ liệu kỹ thuật chi tiết của linh kiện
- 3. Đặc điểm cấu tạo Vít Trí (Grub Screw) DIN 913 size M5 dài 5mm
- 4. Giá trị của thép hợp kim cường độ cao 10.9 và lớp phủ nhuộm đen
- 5. Đánh giá lực ép ma sát và tính an toàn của đầu bằng
- 6. Phân loại các biến thể vít trí định vị phổ dụng trên thị trường
- 7. Những ưu điểm cốt lõi và lưu ý vận hành vít trí 10.9 M5x5
- 8. Ứng dụng thực tế: M5x5 – Linh kiện vàng cho cơ cấu thu nhỏ và máy in 3D
- 9. So sánh Vít Trí Đuôi Bằng (DIN 913) và Vít Trí Đuôi Nhọn (DIN 914)
- 10. Phương pháp lắp đặt chuẩn xác với khóa lục giác 2.5mm
- 11. Cách thức nhận diện vít trí 10.9 chuẩn chất lượng kỹ thuật
- 12. Thông tin chi phí Vít Trí Thép Đen M5x5 & Địa chỉ đặt hàng
- 13. Giải đáp các thắc mắc (FAQ) về dòng vít trí M5 ngắn
- 14. Dịch vụ hỗ trợ tư vấn kỹ thuật từ đội ngũ Mecsu Pro
- 15. Lời khuyên chuyên gia: Cách xử lý khi lắp vít trí siêu ngắn vào lỗ sâu
1. Khái quát về dòng Vít Trí Đuôi Bằng Thép Đen 10.9 M5x5
Sản phẩm Vít Trí Đuôi Bằng Thép Đen 10.9 DIN 913 M5x5 là loại bu lông không đầu, chuyên dùng để định vị các chi tiết máy trong những không gian cực kỳ hạn chế. Với chiều dài chỉ 5mm, con vít này được thiết kế để lặn hoàn toàn dưới bề mặt chi tiết bao ngoài, tạo nên sự liền mạch và thẩm mỹ cho cụm lắp ráp. Đặc biệt, việc sử dụng thép hợp kim cấp bền 10.9 giúp sản phẩm chịu được lực vặn lớn, đảm bảo lỗ lục giác chìm không bị biến dạng khi thực hiện khóa chặt các bộ phận truyền động.
Được chế tạo dựa trên quy chuẩn DIN 913, vít trí M5x5 sở hữu phần đuôi phẳng (flat point). Thiết kế này ưu tiên khả năng bảo vệ bề mặt trục, tạo ra lực ép ma sát tĩnh để cố định vị trí mà không gây ra các vết sẹo, vết lõm làm ảnh hưởng đến độ bóng và độ chính xác của trục máy. Đây là linh kiện thiết yếu trong các hệ thống robot, thiết bị đo lường và máy gia công mini.
2. Bảng dữ liệu kỹ thuật chi tiết của linh kiện
Mecsu cung cấp chi tiết bảng thông số kỹ thuật cho mã hàng B16M0501005D13E1, phục vụ khâu thiết kế và chọn lựa:
| Thuộc tính kỹ thuật | Thông số cụ thể |
|---|---|
| Mã đặt hàng (SKU) | 0570684 |
| MPN | B16M0501005D13E1 |
| Hệ đo lường | Met (mm) |
| Tiêu chuẩn sản xuất | DIN 913 |
| Kích thước ren (d) | M5 |
| Bước ren (P) | 0.8 mm |
| Chiều dài toàn thân (L) | 5 mm (Siêu ngắn) |
| Dụng cụ siết (s) | Khóa lục giác 2.5 mm |
| Cấp bền vật liệu | Thép 10.9 (Steel) |
| Lớp phủ bảo vệ | Nhiệt luyện đen (Black Oxide) |
| Kiểu tiếp xúc | Đuôi Bằng (Flat Point) |
| Nơi sản xuất | Trung Quốc |
| Giá bán lẻ tham khảo | 168 đ / Cái |
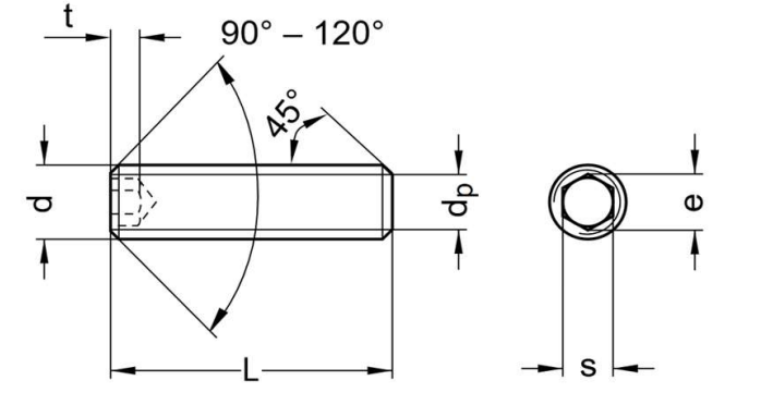
3. Đặc điểm cấu tạo Vít Trí (Grub Screw) DIN 913 size M5 dài 5mm
Thiết kế của vít trí M5x5 tập trung vào sự tinh gọn nhưng vẫn đảm bảo khả năng truyền lực mạnh mẽ:
- Lục Giác Chìm 2.5mm: Đầu vít được dập sâu rãnh lục giác cỡ 2.5mm. Nhờ phôi thép 10.9 cứng cáp, rãnh lục giác này có độ bền rất cao, cho phép dụng cụ siết ôm khít và truyền momen xoắn tối đa mà không gây hư hại lỗ vít.
- Thân Ren Toàn Bộ: Dù chỉ dài 5mm, toàn bộ thân vít được cán ren mịn chuẩn xác. Điều này giúp tối ưu hóa diện tích tiếp xúc của ren trong lỗ taro, đảm bảo vít bám chắc và không bị nới lỏng dưới tác động của rung động máy.
- Đuôi Phẳng (Flat Point): Phần cuối của vít được gia công phẳng hoàn hảo. Khi siết chặt, mặt phẳng này ép đều lên bề mặt đối diện, tạo ra lực khóa bằng ma sát cực tốt cho các liên kết trục tròn hoặc mặt phẳng.
4. Giá trị của thép hợp kim cường độ cao 10.9 và lớp phủ nhuộm đen
Sự ưu việt của vít trí M5x5 đến từ nền tảng vật liệu cao cấp:
- Thép Hợp Kim Cấp 10.9: Mang lại độ bền kéo và độ cứng lý tưởng cho các chi tiết nhỏ. Cấp bền này giúp vít trí không bị biến dạng ren hay mẻ lỗ lục giác dưới áp lực ép lớn, đảm bảo độ bền cơ học cho toàn bộ hệ thống.
- Nhuộm Đen Black Oxide: Lớp hoàn thiện màu đen sau nhiệt luyện không chỉ tạo vẻ chuyên nghiệp mà còn tăng cường khả năng chống oxy hóa nhẹ, giúp sản phẩm bền bỉ hơn trong môi trường nhà xưởng có dầu mỡ.
- Độ Chính Xác Ren Cao: Bước ren 0.8mm được kiểm soát nghiêm ngặt, giúp việc vặn vít vào lỗ taro mồi diễn ra mượt mà, hạn chế tối đa sự cố cháy ren.
5. Đánh giá lực ép ma sát và tính an toàn của đầu bằng
Với đường kính 5mm và chiều dài cực ngắn, vít trí DIN 913 là giải pháp an toàn nhất cho trục máy:
Lực khóa của dòng vít đuôi bằng được phân bổ đều trên mặt tiếp xúc phẳng, thay vì tập trung vào một điểm như các dòng đuôi nhọn. Điều này giúp ngăn ngừa việc tạo ra các vết khía hoặc lỗ lõm trên trục, giữ cho trục máy luôn nhẵn mịn. Đây là yếu tố sống còn cho các bộ phận yêu cầu độ đồng tâm cao hoặc cần thường xuyên thay đổi vị trí puly trên trục mà không làm hỏng giá trị của thiết bị.
6. Phân loại các biến thể vít trí định vị phổ dụng trên thị trường
Tùy vào yêu cầu kỹ thuật cụ thể, người dùng có thể lựa chọn các chủng loại vít trí khác nhau:
- Vít Trí Đuôi Bằng (Mã 0570684): Bảo vệ trục tối đa, dùng cho các liên kết yêu cầu mặt phẳng ép đều.
- Vít Trí Đuôi Nhọn (DIN 914): Tạo lực khóa cơ học bằng cách đâm xuyên bề mặt, dùng cho vị trí cố định vĩnh viễn.
- Vít Trí Đuôi Lõm (DIN 916): Sự kết hợp linh hoạt, tăng độ bám chống xoay nhờ vành tròn sắc ở đuôi.
- Vít Trí Inox 304/316: Chống rỉ sét tuyệt đối, thích hợp cho máy móc thực phẩm hoặc môi trường hóa chất.
7. Những ưu điểm cốt lõi và lưu ý vận hành vít trí 10.9 M5x5
Ưu điểm:
- Kích thước siêu nhỏ: Cho phép lắp đặt trong các chi tiết cực mỏng hoặc không gian hẹp nhất.
- Bền bỉ vượt trội: Thép cấp 10.9 chống lại hiện tượng hỏng lỗ chìm lục giác khi siết.
- Thẩm mỹ và an toàn: Thiết kế chìm giúp máy móc phẳng phiu, loại bỏ nguy cơ vướng víu linh kiện quay.
- Giá thành tối ưu: Chỉ 168 đ cho một linh kiện cường độ cao chính xác.
Lưu ý:
- Hạn chế gỉ sét: Lớp nhuộm đen cần được bảo trì bằng dầu máy, không phù hợp cho các ứng dụng ngâm nước hoặc ngoài trời lâu ngày.
- Kiểm soát lực siết: Với chiều dài chỉ 5mm, không nên siết quá kịch liệt để tránh làm hỏng ren của lỗ taro trên vật liệu mềm.
8. Ứng dụng thực tế: M5x5 – Linh kiện vàng cho cơ cấu thu nhỏ và máy in 3D
Nhờ sự nhỏ gọn và sức bền vật liệu, vít trí M5x5 đóng vai trò quan trọng trong:
- Lắp ráp máy in 3D và CNC Mini: Cố định các puly GT2, khớp nối cứng vào trục động cơ bước (Nema 17) một cách tinh gọn.
- Mô hình RC và Robotics: Sử dụng trong các bánh răng, cánh tay đòn của mô hình điều khiển từ xa yêu cầu độ bền cao và trọng lượng nhẹ.
- Thiết bị điện tử: Định vị các nút vặn biến trở, núm điều chỉnh cơ học trong các thiết bị âm thanh cao cấp.
- Dụng cụ cầm tay: Khóa vị trí các bộ phận điều chỉnh trên thước kẹp, chân đế giá đỡ linh kiện nhỏ.
9. So sánh Vít Trí Đuôi Bằng (DIN 913) và Vít Trí Đuôi Nhọn (DIN 914)
Việc chọn đúng loại đuôi vít sẽ quyết định tuổi thọ của hệ thống cơ khí:
| Tiêu chí | Đuôi Bằng (DIN 913) | Đuôi Nhọn (DIN 914) |
|---|---|---|
| Hình dạng mặt cuối | Bề mặt phẳng tròn mịn | Mũi nhọn hình nón sắc |
| Tác động lên bề mặt | Chỉ tạo lực ép, không làm hỏng trục | Đâm xuyên vật liệu, tạo lỗ lõm |
| Khả năng tháo lắp | Dễ dàng thay đổi vị trí thường xuyên | Thường dùng cho liên kết cố định một chỗ |
| Ứng dụng tiêu biểu | Trục động cơ, puly nhôm, thiết bị đo | Khớp nối cứng, máy móc hạng nặng |
10. Phương pháp lắp đặt chuẩn xác với khóa lục giác 2.5mm
Để đảm bảo vít trí M5x5 đạt hiệu quả định vị tối đa và dễ bảo trì:
- Bước 1: Chuẩn bị ren lỗ: Đảm bảo lỗ taro M5 sạch bụi, không còn phoi sắt bên trong.
- Bước 2: Chọn dụng cụ chuẩn: Sử dụng khóa lục giác 2.5mm loại tốt, không bị mòn đầu để đảm bảo ôm khít lỗ vít.
- Bước 3: Bắt ren nhẹ nhàng: Đưa vít vào và xoay nhẹ bằng tay vài vòng đầu để chắc chắn vít không bị lệch ren.
- Bước 4: Siết chặt momen: Siết cho đến khi cảm thấy lực căng tay. Với độ dài 5mm, bề mặt ren tiếp xúc ngắn nên hãy siết vừa đủ để khóa vị trí, tránh quá lực làm tuôn ren lỗ taro.
11. Cách thức nhận diện vít trí 10.9 chuẩn chất lượng kỹ thuật
Khách hàng có thể kiểm tra nhanh chất lượng vít trí tại Mecsu qua các đặc điểm sau:
- Độ hoàn thiện bề mặt: Màu đen mờ đồng nhất, không bị loang lổ hay bong tróc lớp nhiệt luyện.
- Sắc nét cơ khí: Lỗ lục giác 2.5mm bên trong có các cạnh sắc sảo, đồng tâm, không có ba-via thừa.
- Độ khít ren: Khi vặn thử vào lỗ taro chuẩn, vít di chuyển mượt mà, không bị rơ lắc quá mức hay kẹt cứng giữa chừng.
12. Thông tin chi phí Vít Trí Thép Đen M5x5 & Địa chỉ đặt hàng
a. Báo giá bán lẻ: 168 đ / Cái
Mecsu Pro tự hào cung cấp dòng vít trí cường độ cao với giá thành cạnh tranh nhất. Chúng tôi áp dụng chính sách chiết khấu linh hoạt cho các xưởng sản xuất, đơn vị lắp ráp khi mua số lượng lớn theo túi hoặc theo hộp (100 – 500 cái).
b. Tại sao chọn Mecsu Pro?
- Kho hàng đa dạng: Sẵn kho đầy đủ các quy cách vít trí từ M3 đến M20 cho mọi nhu cầu lắp máy.
- Chất lượng chuẩn DIN: Cam kết từng con vít đều đạt tiêu chuẩn kỹ thuật DIN 913 và cấp bền 10.9.
- Giao hàng siêu tốc: Đội ngũ vận chuyển chuyên nghiệp đảm bảo hàng đến tay khách hàng sớm nhất.
MUA THÊM CÁC QUY CÁCH VÍT TRÍ ĐUÔI BẰNG KHÁC TẠI MECSU
13. Giải đáp các thắc mắc (FAQ) về dòng vít trí M5 ngắn
13.1. Vít trí M5x5 này dùng khóa lục giác cỡ bao nhiêu?
Dòng vít trí size ren M5 theo tiêu chuẩn DIN 913 yêu cầu sử dụng khóa lục giác size 2.5mm.
13.2. Chiều dài 5mm có đủ lực giữ không?
Đủ cho các ứng dụng định vị tải trọng nhẹ và trung bình. Với 5mm chiều dài ren tiếp xúc, vít hoàn toàn có thể khóa chặt các puly trên trục động cơ Nema 17 hoặc các núm vặn điều chỉnh.
13.3. Tôi có thể lắp vít này cho lỗ ren sâu hơn 5mm không?
Hoàn toàn được. Vít trí không đầu cho phép bạn vặn sâu vào lỗ tùy ý để tiếp xúc với trục. Tuy nhiên, nếu lỗ taro quá sâu, việc tháo lắp sau này có thể khó khăn nếu bạn không có khóa lục giác đủ dài.
13.4. Vít thép đen này có bị rỉ trong phòng máy lạnh không?
Trong môi trường phòng lạnh khô ráo, vít rất bền. Để an tâm hơn, bạn nên bôi một lớp dầu nhẹ hoặc mỡ bò lên vít khi lắp đặt để ngăn hơi ẩm tiếp xúc trực tiếp.
14. Dịch vụ hỗ trợ tư vấn kỹ thuật từ đội ngũ Mecsu Pro
Quý khách cần tư vấn về lực siết hoặc giải pháp linh kiện cho robot và máy tự động hóa? Mecsu luôn sẵn sàng đồng hành:
Địa chỉ văn phòng: B28/I – B29/I Đường số 2B, KCN Vĩnh Lộc, P. Bình Hưng Hòa B, Q. Bình Tân, TP.HCM
Hotline: 1800 8137
Email liên hệ: [email protected]
Website mua sắm: mecsu.vn
15. Lời khuyên chuyên gia: Cách xử lý khi lắp vít trí siêu ngắn vào lỗ sâu
a. Sử dụng chìa lục giác có từ tính
Với vít trí nhỏ và ngắn như M5x5, việc đưa vít vào lỗ taro sâu có thể gây rơi rớt linh kiện. Hãy sử dụng chìa lục giác có từ tính nhẹ để giữ vít chắc chắn trên đầu chìa khi bắt đầu vặn vào lỗ.
b. Kết hợp keo khóa ren cho sự an toàn tối đa
“Vì vít M5x5 có hành trình ren tiếp xúc không dài, trong môi trường máy rung lắc liên tục, chúng tôi khuyên bạn nên sử dụng thêm một giọt keo khóa ren (Threadlocker) loại trung bình. Điều này đảm bảo liên kết không bao giờ bị tự nới lỏng mà không cần phải siết vít quá lực gây cháy ren.”
— Đội ngũ kỹ thuật Mecsu Pro tư vấn.
(Khám phá thêm các giải pháp linh kiện cơ khí kẹp chặt tại Mecsu.vn)










Đánh giá
Chưa có đánh giá nào.